Sales & Service Locations:
Austin, TXBirmingham, ALBoston, MA Orlando, FL
Corporate Offices:
1170 Tree Swallow DriveSuite 342Winter Springs, FL32708-2826
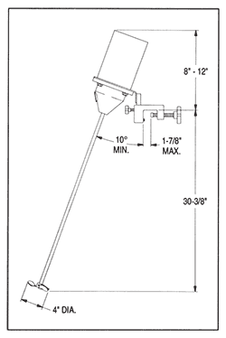
Neptune’s premier line of small direct drive mixers for mixing small batches of low viscosity fluids.